เราคงเคยได้อ่านข้อความที่ล้อเลียนสหรัฐอเมริกาเรื่องของการที่ใช้งบประมาณหลายล้านเหรียญในการพัฒนาปากกาเพื่อเขียนในอวกาศ ในขณะที่รัสเซียใช้ดินสอราคาถูกแก้ปัญหา แต่เรื่องจริงก็คือ

ที่จริงแล้วทั้งอเมริกาและรัสเซียต่างรู้อยู่แล้วว่าปากกาลูกลื่นที่ใช้แรงโน้มถ่วงไม่สามารถใช้งานได้บนสภาวะไร้น้ำหนักในอวกาศ และวิศวกรของทั้งสองประเทศก็ใช้วิธีเดียวกันในการแก้ปัญหาด้วยการใช้ดินสอ ก่อนยุคเริ่มต้นของการใช้ปากกาบนอวกาศ ทั้งนักบินอวกาศของสหรัฐอเมริกาและรัสเซียต่างก็ใช้ดินสอกันมาก่อนหน้านี้ โดยนักบินอวกาศของสหรัฐอเมริกาจะได้รับชุดเครื่องเขียน ประกอบด้วยแท่นกระดาษพร้อมที่รัดกับหัวเข่า และดินสอหนึ่งด้าม ตัวดินสอจำเป็นต้องผูกกับแท่นเพื่อไม่ให้ลอยเคว้งคว้างไปในอวกาศ แต่ต่อมาพบว่าดินสอมีฝุ่นที่จะเป็นอันตราย ต่ออุปกรณ์และตัวนักบิน ถึงแม้จะเป็นดินสอกด(ของอเมริกา)หรือดินสอใส้ขี้ผึ้ง(ของรัสเซีย) ก็ตาม

ชุดเครื่องเขียนของโครงการ Friendship 7 (ภาพจากพิพิธภัณฑ์ยานบินและยานอวกาศแห่งชาติ สหรัฐอเมริกา)
ทั้งสหรัฐอเมริกาและสหภาพโซเวียตต่างพยายามหันไปใช้ปากกาแทนดินสอ ทางเลือกปากกาในท้องตลาด ณ ขณะนั้นมีอยู่ไม่มากนัก โดยต่างเลือกใช้ปากกาลูกลื่นทั่วไป ซึ่งยังทำงานได้ไม่ดีในทุกสถานการณ์อุณหภูมิ ก่อนที่สหรัฐอเมริกาจะพยายามเปลี่ยนมาใช้ปากกามาร์คเกอร์ในโครงการอะพอลโล แต่ก็ยังติดปัญหาการเขียนไม่ออกในบางสภาพความดันและอุณหภูมิ

ภาพประกอบสิทธิบัตรแรกของ Fisher Space Pen

ในปี 1948 Paul C. Fisher ก่อตั้งบริษัท Fisher Pen Company เพื่อมุ่งหวังจะผลิตปากกาทั่วไป จุดเปลี่ยนแรกที่ Fisher สร้างให้กับวงการปากกา คือการออกแบบไส้ปากกาที่สามารถใช้กับปากกายี่ห้อหลักๆ ได้ทุกยี่ห้อในขณะนั้นภายใต้ชื่อ Universal Refill Catridge จุดมุ่งหมายของบริษัทในขณะนั้นมีเพียงการสร้างปากกาที่ดี บริษัทพยายามทดลองสร้างปากกาที่ “เขียนได้ดี” โดยมิได้คำนึงถึงสภาวะใดเป็นพิเศษ จนออกมาเป็นสิทธิบัตรเฉพาะในการผลิตปากกาของ Fisher
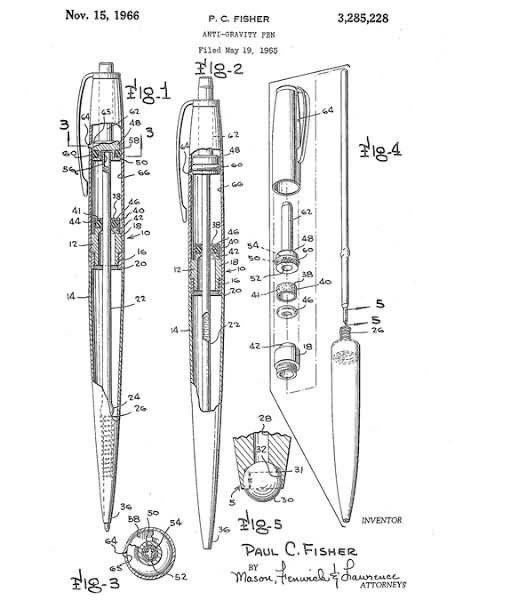
สิทธิบัตรหมายเลข #3285228 ของ Fisher เสนอแนวคิดการสร้างปากกาไว้หลายอย่าง โดยหลักแล้วอยู่ที่การออกแบบกลไกด้ามปากกาให้ทำหน้าที่อัดอากาศลงไปที่ไส้ปากกา เพื่อให้ความดันความดันในหลอดหมึกมากกว่าความดันภายนอก ส่งผลให้หมึกสามารถไหลออกมาได้อย่างเรียบลื่น โดย Fisher ตั้งชื่อรุ่นให้ปากกาด้ามนี้ว่า Fisher AG7 ทั้งนี้ทั้งนั้น ความสำเร็จในการออกแบบปากกา Fisher AG7 ไม่ได้อยู่แค่ที่เพียงกลไกการอัดอากาศ แต่มาจากหมึกชนิดใหม่และการออกแบบหัวบอลสำหรับปากกาควบด้วย แน่นอนว่าการสร้างปากกาด้วยวิธีการแบบใหม่ต้องใช้งบวิจัยจำนวนมาก Fisher ใช้งบประมาณร่วมหนึ่งล้านดอลล่าร์สหรัฐเพื่อพัฒนาปากกาด้ามนี้
หลังผ่านการทดสอบยาวนานกว่า 18 เดือนจาก NASA ปากกา Fisher Space Pen ก็ได้รับคัดเลือกให้ใช้งานบนภารกิจ Apollo 7 ของสหรัฐอเมริกา เพราะการใช้ดินสอนในสภาวะไร้น้ำหนักที่มีการซีลแากาศในยานอวกาศนั้น เป็นอันตรายต่อระบบทางเดินหายใจของนักบินอวกาศเพราะดินสอจะมีฝุ่นที่ไม่ตกลงพื้นเนื่องจากไม่มีแรงดึงดูด และที่สำคัญคือปากกาที่อัดแก๊สมีขายแล้วในสมัยนั้นในราคาแค่ สองเหรียญกว่าเอง ! ตอนนี้ปากการุ่นที่เลียนแบบปากกาอวกาศรุ่นแรกก็ยังมีขายอยู่ใครสนใจก็สั่งซื้อได้ทางเนตเยอะแยะเลย

การที่มีเฟคนิวส์เรื่องนี้เพราะคนสร้างเรื่องต้องการให้มีคนแชร์คนพูดถึงเยอะๆ เลยสร้างเรื่องให้คนเก่งอย่างวิศวกรของอเมริกา กลายเป็นคนโง่ที่แก้ปัญหาง่ายๆไม่ได้ ในขณะที่เรื่องของดินสอเป็นเรื่องพื้นฐานที่คนทั่วไปก็รู้ทำไมเค้าคิดไม่ได้ คนที่อ่านและแชร์เรื่องนี้เลยได้รู้สึกว่าเก่งเท่ ตามสูตรเฟคนิวส์เลย

ต่อไปนี้จะแชร์เรื่องปากกาอเมริกากับดินสอของรัสเซียอีกมั้ยนะ
